2、系统特点
●通风系统设计简单、灵活,容易修改,出错率低。
●不需要风管系统,节省空间、安装方便灵活、维护成本低。
●采用挠性喷嘴可万向调节,射流方向可随意调整,灵活性强。
●安装位置可有针对性,不会有死角,提高换气效率和空气质量。
3、工作条件
工作温度:-20~+40℃;
湿度:小于90%;
介质条件:空气(含尘量不超过100mg/m³);
工作电源:A型:三相、380V/50Hz;
B型:单相、220V/50Hz。
4、应用
风机可广泛应用于地下车库、停车场、超市商场、仓库等通风换气。
5、配置
5.1.标准配置
●叶轮:●电机;
●机壳(锅壳、集流器电机支架);●挠性风管;
●箱体(仅消声型);●污染物感应装置及控制器(智能型);
●喷嘴。
5.2备选件及附件(订货时注明是否购买)
※减振设备;※控制箱;※安装吊架。
6、加工工艺
6.1、风机叶轮、机壳全为优质镀锌钢板,全部模具生产,经拼咬接成形。叶轮经静、动平衡校正,平衡精度不大于G5.6级。
6.2、消声型诱导风机箱板为数控折弯机折边成形,内衬消声材料,与铝合金型材用自攻螺栓连接装配成形。

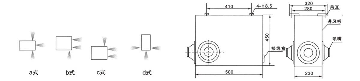
8、外形尺寸及喷嘴安装形式
(1)YDF立体诱导风机示意图(万向球形愤嘴)
球形喷口立式诱导风机由离心式通风机、消声机箱、三个万向球形喷嘴组成,回转角度<60°,喷口Φ75×3;主要特点:喷口位置增加8个,可任意调整喷口,适应不同的设计和现场实际需要,机组小型化,风机效率提高。
(2)YDF-B卧式诱导风机示意图(万向球形喷嘴)
球形喷口卧式诱导风机机由离心式通风机、消声机箱、三个万向球形喷嘴组成。回转角度<60°,喷口Φ75×3。
主要特点,调节灵活方便回转角大,适用在多种环境安装,外形美观大方。
喷嘴安装形式
(3)YDF-B诱导风机示意图(导管式啧嘴)导管卧式诱导风机由离心式通风机、消声机箱、三种以下导管组成。回转角度<45°,导管长=400mm,Φ80×3,Φ100x2,Φ140x1。主要特点,气流导向准确,喷射间距远,接力传递卷吸量
(4)YDF-C诱导风机可配用万向球形喷嘴或导管式喷嘴,外形见右图。
(5)YDF-C诱导风机示意图
无箱轴流诱导风机由轴流风机、消声器、喷嘴、固定架组成,回转角度<60°,喷口Φ175。主要特点,产品类似隧道射流风机,射程更加长远,适应高大型场所,安装方便。
喷嘴气流线图落
(6)YDF-A系列管道式诱导风机外形尺寸
YDF-A系列管道式诱导风机箱有模具成形框架、离心风机、嵌入式消声静压箱组成,回转角度<45度,喷嘴Φ36°离心风机采用低风量大压力,全压≥1750Pa,风管采用螺旋有压圆管,配装小直径的喷口以超高速的气流传递卷吸量大,喷口自带风量调节阀更能适应各种环境的使用。
9、卧、立式安装示意图
诱导风机组是整个送排风系统的一个重量的中间通风衔接环口,进凤口、排风口位置,诱导风机的安装位置十分重要,直接关系到能否形成合理的气流。理想的布局是让送排风机在空间上形成主气流,通过诱导风机的诱导送风,来完成整个空间的送排风。
10、诱导凤机数量的计算
所需诱导风机的台数,在考虑通风方式(机械送排风,自然进风机械排风),有无隔墙,空间形状的前提下,按每台诱导风机所要承担的面积计算,可参照下表确定。
11、可应用场合简介
1、通风换气效果比较
下图为传统式风管系统与诱导通风系统在CO浓度上的比较:
深色区域显示各不同点的一氧化碳浓度,传统的风管通风系统在车子经过的区域,由于仅为局部换气,CO浓度明显较高,而诱导通风系统,因是全风量换气,平均CO浓度明显较低,且最高的CO浓度出现在近排风设备处,若加装CO感测器,因气流分布均匀,探测效果好,可控制风机的运转状态,以节省电力费用。
2、诱导风机的诱导风量
图:诱导风机不同射程处的轴心速度
根据动量定理及射流理论,诱导风机的诱导风量可用下式进行计算Qx/Qo=X/0.37
注:式中Qx-射程X处射流诱导风量,Qo-诱导风机的风量
当末端风速为0.5m/s,X=10m时,风量为650m³/h-台诱导风机可诱导风量达至17560m³/h
3、应用场合示图
对地下停车场,可有效地排除汽车排放的一氧化碳及其它污染气体,节省层高空间,方便其它管道布置,通风换气的效果比传统的风管通风系统更佳。
体育场馆、室内游戏池、展览中心等高大空间的建筑物,冬季时的热空气下送是个难题,通过使用诱导风机,可有效地解决上部热空气的下送问题,提高底部温度,节省能源,夏季使空调气流组织理想,消除死角,使各部位都能保持舒适的温度。
对于车间、仓库、超市可在通道上方安装诱导风机,有效地组织气流的流动,不形成死角,并且可以随着布局的调整,方便地调整诱导凤机的布置位置。
注意消防通凤时,1、排烟凤机的选用,宜和平时排凤机组结合,机房合用。2、排烟凤管可按"排烟口距防烟分区内最远点的水平距离不超过30m"的原则布置,凤管管径可按规范规定的凤速采确定。
1、概述
1.1.YDF型诱导风机主要用于无风管条件下,将多台诱导风机按一定间离和方向依次排列,以少量高速喷流气体带动诱导周围静止的空气,达到高效经济的通风换气效果。切单独布置在通风死角区,通过诱导风机高速喷流达到稀释废气作用。
1.2YDF型诱导风机根据用户不同的需要可分为两种:A型:管道式诱导风机,由高压风机、小口径螺旋风管和喷嘴组成;B型:自带喷嘴小型诱导风机,自带挠性风管、喷嘴,可由多台诱导风机组成一个诱导系统。
1.3根据用户需要可配污染物浓度感应装置和控制器,实现自动控制(智能型诱导风机)。